頭部智能門鎖品牌“凱迪仕”發生了什么?創始人家族被凍結大量股權快訊
導讀
近日,知名智能門鎖品牌“凱迪仕”母公司深圳市凱迪仕智能科技股份有限公司(簡稱“深圳凱迪仕”)創始人蘇志勇、蘇祺云父子所持包括深圳凱迪仕在內的多家公司股份被地方法院凍結。
近日,知名智能門鎖品牌“凱迪仕”母公司深圳市凱迪仕智能科技股份有限公司(簡稱“深圳凱迪仕”)創始人蘇志勇、蘇祺云父子所持包括深圳凱迪仕在內的多家公司股份被地方法院凍結。

天眼查顯示,蘇祺云所持深圳凱迪仕2117.4819萬元人民幣股權、深圳領凱企業管理合伙企業(有限合伙)7.31萬元人民幣出資額,本月被深圳市福田區人民法院凍結。


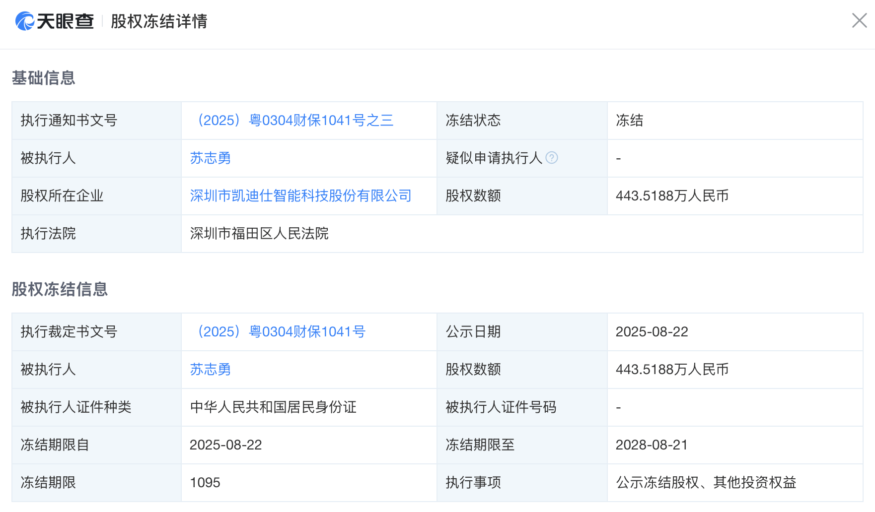
公開報道顯示,蘇祺云是凱迪仕品牌創始人蘇志勇的兒子。蘇志勇所持有的深圳凱迪仕443.5188萬元人民幣股權,也在今年11月被深圳福田區法院凍結。


深圳凱迪仕,自2013年成立以來,便以其高端智能鎖產品和領先的科技實力,在市場上占據了一席之地。公司官網驕傲地宣稱,凱迪仕是全球領先的高端智能鎖品牌,累計獲取711項專利,產品暢銷美國、新加坡等36個國家,全球累計熱銷超過1000萬臺。
1.TMT觀察網遵循行業規范,任何轉載的稿件都會明確標注作者和來源;
2.TMT觀察網的原創文章,請轉載時務必注明文章作者和"來源:TMT觀察網",不尊重原創的行為TMT觀察網或將追究責任;
3.作者投稿可能會經TMT觀察網編輯修改或補充。
